Catalogue Menu
8061SM20.42
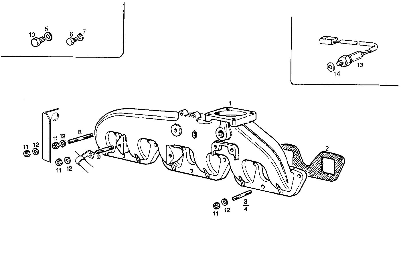
0710.024 INTAKE MANIFOLD

| Item | Part number | Description |
|---|---|---|
| 1 | 4819949 | INTAKE ELBOW |
| 2 | 4851921 | INTAKE ELBOW GASK. |
| 3 | 16729424 | STUD M8X1,25X25 |
| 4 | 13517321 | STUD M8X35 MM |
| 5 | 10260160 | SEAL GASKET Ø10X14 MM SP=1 MM |
| 6 | 10300240 | PLUG M6 |
| 7 | 10297760 | SEAL GASKET Ø6,2 MM |
| 8 | 13517521 | STUD M8X12X45 MM |
| 9 | 16729224 | STUD M8X16 MM |
| 10 | 11903140 | PLUG M10X1,25 |
| 11 | 17037931 | HEXAGON NUT M8X1,25 |
| 12 | 11194074 | WASHER Ø8,4 MM |
| 13 | 8006683 | SWITCH |
| 14 | 4858606 | GASKET Ø10X14X1 MM |
